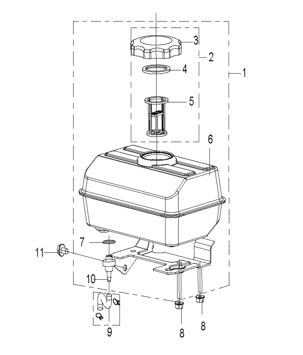
Diagrama IPL Motobomba Husqvarna 1.5in Agua Limpia W40P | Probosque
Ayuda

Ayuda

Diagrama IPL Motobomba Husqvarna 1.5in Agua Limpia W40P

Buscador interno
Archivo PDF
El archivo pdf esta disponible

Secciones

Elige la sección de la cual quieres ver las partes.


Refacciones

Estas son algunas refacciones de este diagrama...

Ver todas las refacciones de este diagrama
Ver todas las refacciones de este diagrama

Equipos compatibles

Este diagrama es compatible con los siguientes articulos.
Marca Articulo Estatus
W40P - MOTOBOMBA HUSQVARNA W40P 1.5" AGUA LIMPIA 97CC 1.9HP AUTOCEBANTE 4 TIEMPOS Este articulo se encuentra a la venta.