Partes de Carter del diagrama IPL Husqvarna 55 Rancher 53.2 CC Motosierra 2010-04 | Probosque
Ayuda

Ayuda

Diagrama IPL Husqvarna 55 Rancher 53.2 CC Motosierra 2010-04

Buscador interno
Busca unicamente dentro de las secciones del diagrama y se mostrará el diagrama y la sección a la que pertenece.

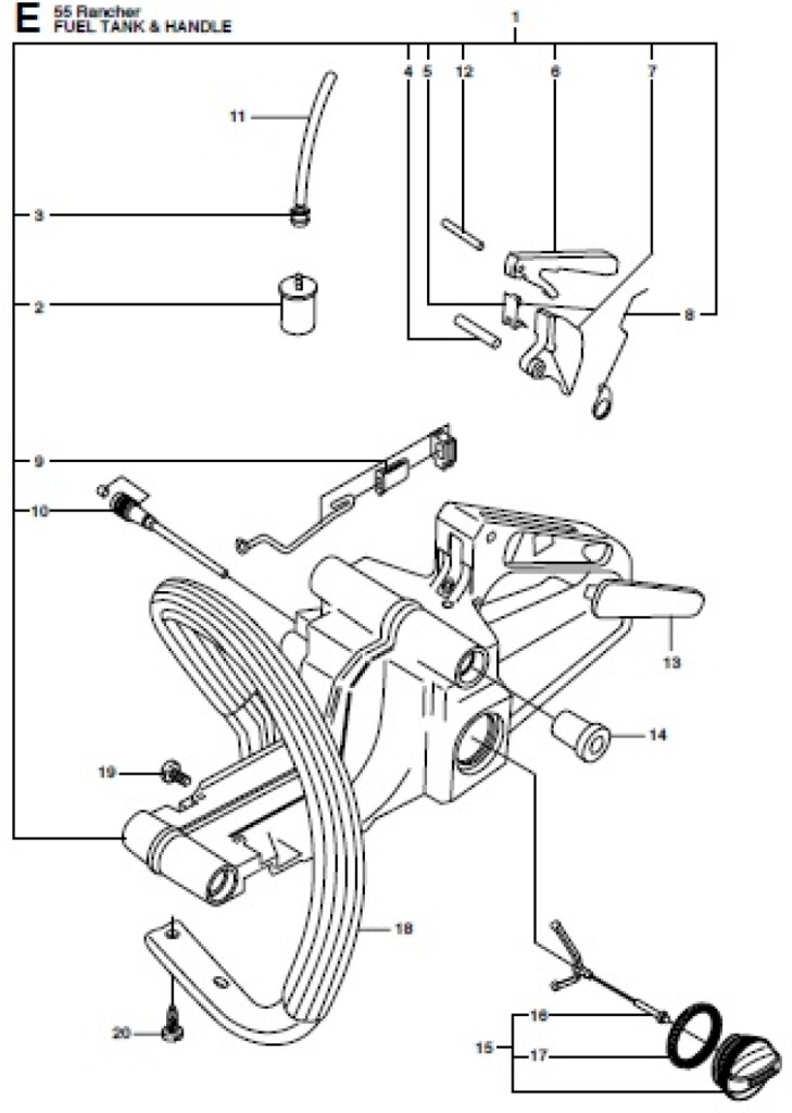
Sección Carter

Partes de Carter
1

Codigo barras

-

Código

-

Codigo fabricante

503729801

Descripcion

CONDUCTO AIRE 55

Marca

Husqvarna
5

Codigo barras

7391883108659

Código

505275719

Codigo fabricante

505275719

Descripcion

RETEN CIGUEÑAL 11X26X4 MM 365 372XP 575XP 345FR 345RX 343FR 545RXT LADO VOLANTE

Marca

Husqvarna
7

Codigo barras

-

Código

-

Codigo fabricante

501764403

Descripcion

TAPA AMORTIGUADOR 55

Marca

Husqvarna
9

Codigo barras

-

Código

-

Codigo fabricante

503226201

Descripcion

PLACA C/ROSCA CARTER 55

Marca

Husqvarna
10

Codigo barras

7391883108659

Código

505275719

Codigo fabricante

505275719

Descripcion

RETEN CIGUEÑAL 11X26X4 MM 365 372XP 575XP 345FR 345RX 343FR 545RXT LADO VOLANTE

Marca

Husqvarna
11

Codigo barras

-

Código

-

Codigo fabricante

501763003

Descripcion

GUARDA POLVO 55

Marca

Husqvarna
12

Codigo barras

-

Código

-

Codigo fabricante

501765602

Descripcion

TAPON ACEITE 137 142 55

Marca

Husqvarna
13

Codigo barras

-

Código

-

Codigo fabricante

740440500

Descripcion

EMPAQUE TAPON ACEITE 136 141 55 137 142

Marca

Husqvarna
14

Codigo barras

-

Código

503578901

Codigo fabricante

503578901

Descripcion

SEGURO TAPÓN GASOLINA MOTOSIERRAS HUSQVARNA

Marca

Husqvarna
16

Codigo barras

-

Código

-

Codigo fabricante

501454101

Descripcion

PERNO TENSOR CADENA HUSQVARNA 55 525PT5S

Marca

Husqvarna
17

Codigo barras

-

Código

-

Codigo fabricante

501452702

Descripcion

SEGURO TENSOR HUSQVARNA 334T 55 525PT5S

Marca

Husqvarna
18

Codigo barras

7391883085172

Código

-

Codigo fabricante

501546301

Descripcion

TORNILLO TENSOR CADENA 340 55

Marca

Husqvarna
19

Codigo barras

-

Código

-

Codigo fabricante

501766403

Descripcion

CAPTOR CADENA 55

Marca

Husqvarna
22

Codigo barras

-

Código

-

Codigo fabricante

501762202

Descripcion

CARTER 55

Marca

Husqvarna
23

Codigo barras

-

Código

-

Codigo fabricante

721121040

Descripcion

PERNO FLECHA ACEITADOR 55

Marca

Husqvarna
24

Codigo barras

-

Código

720130710

Codigo fabricante

720130710

Descripcion

PERNO CARTER HUSQVARNA 55 61 355RX 545RX 545RXT T540XP

Marca

Husqvarna
25

Codigo barras

-

Código

-

Codigo fabricante

503668401

Descripcion

TUBO GUIA ACEITE CARTER 55

Marca

Husqvarna
26

Codigo barras

-

Código

-

Codigo fabricante

503684242

Descripcion

BIRLO BARRA 55

Marca

Husqvarna
27

Codigo barras

7391883085974

Código

-

Codigo fabricante

501761802

Descripcion

KIT EMPAQUES MOTOR 55

Marca

Husqvarna
Número IPL Descripción Foto Agregar carrito
1
CONDUCTO AIRE 55
Marca: Husqvarna
Cargando..
5
RETEN CIGUEÑAL 11X26
Marca: Husqvarna
Cargando..
7
TAPA AMORTIGUADOR 55
Marca: Husqvarna
Cargando..
9
PLACA C/ROSCA CARTER
Marca: Husqvarna
Cargando..
10
RETEN CIGUEÑAL 11X26
Marca: Husqvarna
Cargando..
11
GUARDA POLVO 55
Marca: Husqvarna
Cargando..
12
TAPON ACEITE 137 142
Marca: Husqvarna
Cargando..
13
EMPAQUE TAPON ACEITE
Marca: Husqvarna
Cargando..
14
SEGURO TAPÓN GASOLIN
Marca: Husqvarna
Cargando..
16
PERNO TENSOR CADENA
Marca: Husqvarna
Cargando..
17
SEGURO TENSOR HUSQVA
Marca: Husqvarna
Cargando..
18
TORNILLO TENSOR CADE
Marca: Husqvarna
Cargando..
19
CAPTOR CADENA 55
Marca: Husqvarna
Cargando..
22
CARTER 55
Marca: Husqvarna
Cargando..
23
PERNO FLECHA ACEITAD
Marca: Husqvarna
Cargando..
24
PERNO CARTER HUSQVAR
Marca: Husqvarna
Cargando..
25
TUBO GUIA ACEITE CAR
Marca: Husqvarna
Cargando..
26
BIRLO BARRA 55
Marca: Husqvarna
Cargando..
27
KIT EMPAQUES MOTOR 5
Marca: Husqvarna
Cargando..

Otras Secciones del diagrama IPL Husqvarna 55 Rancher 53.2 CC Motosierra 2010-04