Partes de Cigueñal, Biela Y Pistón del diagrama IPL KAAZ Fumigadora KS231P 2 Tiempos 23 Lts. 1.5 HP | Probosque
Ayuda

Ayuda

Diagrama IPL KAAZ Fumigadora KS231P 2 Tiempos 23 Lts. 1.5 HP

Buscador interno
Busca unicamente dentro de las secciones del diagrama y se mostrará el diagrama y la sección a la que pertenece.

Sección Cigueñal, Biela Y Pistón

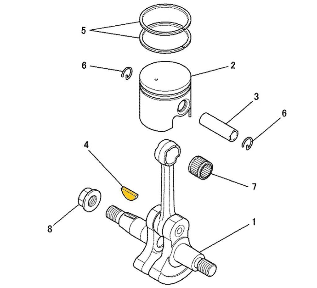
Partes de Cigueñal, Biela Y Pistón
1

Codigo barras

-

Código

-

Codigo fabricante

KD01027AA

Descripcion

CIGUEÑAL Y BIELA KS230P KS231P KAWA

Marca

Kaaz
3

Codigo barras

-

Código

-

Codigo fabricante

KP51008AA

Descripcion

PERNO PISTON KS230P KS231P ARIM SEM25L

Marca

Koshin
4

Codigo barras

-

Código

-

Codigo fabricante

KP23002AA

Descripcion

ANILLO PISTON SEM25L KS231P

Marca

Koshin
5

Codigo barras

-

Código

-

Codigo fabricante

FR64817

Descripcion

SEGURO PERNO PISTON KS230P KS231P KAWA ARIM SEM25L

Marca

Koshin
6

Codigo barras

-

Código

-

Codigo fabricante

FR64857

Descripcion

BALERO BIELA KS230P KS231P KAWA ARIM SEM25L

Marca

Koshin
7

Codigo barras

-

Código

-

Codigo fabricante

W430B03X013

Descripcion

CUÑA CIGUEÑAL KS230P KS231P KAWA AG500 SEM25L

Marca

Koshin
Número IPL Descripción Foto Agregar carrito
1
CIGUEÑAL Y BIELA KS2
Marca: Kaaz
Cargando..
3
PERNO PISTON KS230P
Marca: Koshin
Cargando..
4
ANILLO PISTON SEM25L
Marca: Koshin
Cargando..
5
SEGURO PERNO PISTON
Marca: Koshin
Cargando..
6
BALERO BIELA KS230P
Marca: Koshin
Cargando..
7
CUÑA CIGUEÑAL KS230P
Marca: Koshin
Cargando..

Otras Secciones del diagrama IPL KAAZ Fumigadora KS231P 2 Tiempos 23 Lts. 1.5 HP